Phòng sơn xe tải, phòng sơn xe buýt, xe đầu kéo là cách gọi thông thường của hệ thống những phòng sơn cỡ lớn được phân phối tại thị trương Việt Nam, kích thước của những phòng sơn ô tô này được thay đổi thay nhu cầu đặt hàng của người sử dụng mà không hề có một kích thước tiêu chuẩn nhất định nào. Trong bài viết này chúng tôi sẽ viết về cách sử dụng Phòng sơn xe tải, phòng sơn xe buýt có kích thước phổ thông nhất trên thị trường.
Trong một số trường hợp đặc biệt loại phòng sơn này còn được dùng để sơn toa tàu hỏa, sơn các thiết bị công nghiệp cồng kềnh, những loại này thường có hệ thống ray chuyên dụng để đưa sản phẩm vào phòng sơn. Loại này chúng tôi sẽ chia sẻ tại bài viết khác.
Các bạn có thể đọc về các bài viết về phòng sơn dành cho xe con và xe du lịch tại các bài bên dưới:
>>> Hướng dẫn sử dụng phòng sơn saima cho sơn gốc nước
>>> Hướng dẫn sử dụng phòng sơn saima cho sơn gốc dầu
>>> Hướng dẫn sử dụng phòng sơn RITIAN

Phòng sơn xe tải
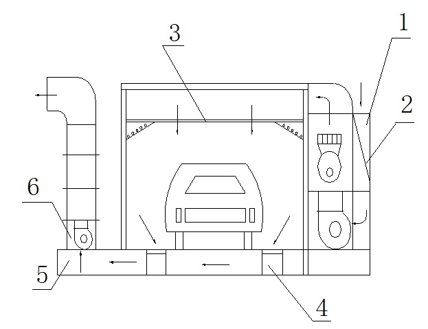
Nguyên lý làm việc của các bộ phận phòng sơn xe tải ở chế độ sơn:
Bao gồm:
Các khoang phòng sơn xe tải
Tủ cơ khí chứ phụ kiện đi kèm phòng sơn xe tải
Hệ thống lọc, bao gồm cả lọc trần và lọc sàn phòng sơn xe tải

Thiết bị chiếu sáng phòng sơn xe tải bao gồm đèn trần và đèn bên hông
Khoang khí thải, gồm một bộ hút gió
Hộp điều khiển phòng sơn xe tải

Và các bộ phận phụ khác của phòng sơn xe tải

Trong khi phun, quạt cấp hút không khí từ cửa gió (1), thông qua các bộ lọc sơ cấp (2) để lọc ra khỏi bụi hạt lớn từ không khí, sau đó không khí đi vào khoang lọc trần, lọc bởi bộ lọc sợi bông (3) và dòng khí đi qua phòng sơn xe tải xe buýt xuống lọc sàn (4) vào hầm (5) và sau đó vào khoang khí thải (6), cuối cùng đi ra ngoài. Trong thời gian phun, áp suất không khí giữ luôn dương để có thể ngăn chặn bụi bên ngoài vào phòng
Nguyên lý hoạt động của phòng sơn xe tải xe buýt ở chế độ sấy
Trong khi sấy đầu đốt tự động hóa và làm cho nhiệt độ tăng lên, luồng khí tươi bên ngoài được hút vào qua cửa (1) bằng quạt chính và sẽ được gia nhiệt thông qua trao đổi nhiệt.
Lúc này không khí tuần hoàn bên trong phòng và qua bộ trao đổi nhiệt do đó nhiệt độ sẽ tăng liên tục và nhanh chóng. Khi nhiệt độ trong phòng đạt nhiệt độ sấy cài đặt nó sẽ giữ cho nhiệt độ duy trì tự động.

Quy trình sơn sấy phòng sơn xe tải
Thông số kỹ thuật một phòng sơn xe tải xe buýt cơ bản trên thị trường
Kích thước bên trong:9860x5000x4400mm (L x W x H)
Kích thước bên ngoài:10000x6700x5000mm (L x W x H)
Cửa chính phòng sơn xe tải: 4000x4300mmz (W x H), có 4 cánh
Cửa phụ: 800x4300mm (W x H)
Cường độ chiếu sáng:1200LUX
Lưu lượng quạt cấp của phòng sơn xe tải:42000M3/H
Lưu lượng quạt hút của phòng sơn xe tải: 42000M3/H
Tốc độ gió ở tải lớn nhất:0.28m/s
Nhiệt độ hoạt động tối đa:80℃
Thời gian tăng nhiệt độ (từ 20-80℃) :Khoảng 10~15 phút
Nhiệt lượng của đầu đốt:520000 kal/h
Lượng tiêu thụ dầu:26L/giờ/xe
Hiệu suất bộ trao đổi nhiệt:85‰
Hiệu suất lọc khí:95‰
Độ ồn:≤85db
Tấm tường: dày 50mm làm bằng thép màu
Trên đây là một ví dụ điển hình về một phòng sơn xe tải xe buýt, mọi thông số chỉ mang tính chất tham khảo
Để biết được thông tin chi tiết các bạn có thể liên hệ: 0902 279 858 để nhận được tư vấn chuyên sâu
Mô tả chức năng hệ thống điện điều khiển của phòng sơn xe tải xe buýt:
Chức năng bộ đặt giờ phòng sơn xe tải:

Để đặt thời gian sấy, khi đạt thời gian cài đặt hệ thống sẽ điều khiển tắt nguồn tự động phòng sơn
Chức năng của đồng hồ thời gian của phòng sơn xe tải
Nhiệm vụ chính của đồng hồ này là tính tổng thời gian hoạt động của bộ trao đổi nhiệt.
Bộ đặt nhiệt của phòng sơn xe tải
Dùng để điều khiển nhiệt độ sấy, khi đạt nhiệt độ cài đặt sẽ điều khiển đầu đốt tắt tự động. Thực hiện cài đặt đọc hướng dẫn chi tiết của bộ đặt nhiệt.
Ví dụ: Khi đặt nhiệt độ sấy là 60℃, thì khi nhiệt độ trong phòng đạt 60℃, nguồn cấp đầu đốt sẽ ngắt tự động; khi nhiệt độ hạ xuống dưới 60℃, nguồn cấp đầu đốt sẽ bật lại tự động, đầu đốt sẽ đốt cháy nhiên liệu và nhiệt độ tăng lên
Chú ý: Hãy kiểm tra nhiệt độ cài đặt cẩn thận trước khi sấy. Nhiệt độ cài đặt tối đa không vượt quá 80℃.
Đèn báo nguồn phòng sơn xe tải
Đèn báo nguồn chỉ sáng khi công tắc nguồn ngắt.
Công nút bấm và công tắc trên bảng điều khiển của phòng sơn xe tải

Nút dừng khẩn cấp phòng sơn xe tải
Chỉ Nhấn nút này khi có sự cố khẩn cấp xảy ra trong quá trình làm việc
Công tắc nguồn điều khiển của phòng sơn xe tải
Đèn này chỉ báo nguồn điều khiển sáng sau khi nguồn điều khiển bật.
Công tắc chiếu sáng của phòng sơn xe tải
Khi bật công tắc này các đèn phòng sẽ bật sáng, có 2 chế độ đèn tường và đèn trần riêng biệt
Công tắc điều chỉnh chế độ sơn của phòng sơn xe tải
Khi bật công tắc này đèn chỉ báo nhiệt độ bình thường sẽ sáng; các quạt sẽ khởi động theo trình tự cho đến khi đạt điều kiện làm việc bình thường, lúc đó quạt cấp và quạt hút sẽ làm việc ngoại trừ đầu đốt.
Công tắc chế độ sơn sấy của phòng sơn xe tải
Khi bật công tắc này đèn chỉ báo sáng khi nhiệt độ trong phòng sơn tăng lên. Các quạt sẽ khởi động theo trình tự cho đến khi đạt điều kiện làm việc với nhiệt độ được đặt, lúc đó quạt cấp, quạt hút và đầu đốt sẽ làm việc. Khi nhiệt độ đạt giá trị cài trước, đầu đốt sẽ tự động tắt.
Công tắc sấy của phòng sơn xe tải
Sau khi cài đặt cho bộ đặt nhiệt và bộ đặt giờ, bật công tắc sấy, đầu đốt bắt đầu hoạt động, đèn báo đầu đốt hoạt động sẽ sáng. Khi đó không khí trong phòng sẽ tuần hoàn và làm nóng lên trong điều kiện quạt cấp và đầu đốt hoạt động, nhưng quạt hút không hoạt động.
Khi nhiệt độ đạt tới nhiệt độ cài đặt đầu đốt sẽ dừng hoạt động. Khi nhiệt độ hạ xuống thấp hơn nhiệt độ cài đặt đầu đốt lại hoạt động trở lại. Cứ lặp đi lặp lại như vậy đến khi hết thời gian cài đặt thì đầu đốt sẽ dừng hoạt động hẳn trong khi quạt cấp hoạt động thêm một khoảng thời gian nữa.
Đèn báo đầu đốt của phòng sơn xe tải bị lỗi
Đèn sẽ sáng để báo hiệu khi có lỗi nào đó ở bộ đánh lửa đầu đốt. Sauk hi được cấp điện 60 giây, với điện cực đầu đốt bắt đầu phát hỏa, van điện từ mở, đầu đốt bắt đầu làm việc, sau 5 giây ngọn lửa sẽ đạt mức tối đa và cháy ổn định. Nếu không có đánh lửa sau 15 giây, trong điều kiện này, cảm biến quang học trong đầu đốt không nhận được tín hiệu, nguồn cấp cho đầu đốt sẽ ngắt tự động và đồng thời đèn chỉ báo đầu đốt bị lỗi sẽ bật sáng tự động. Nếu muốn khởi động lại đầu đốt hãy chờ 60 giây và nhấn nút “Reset” màu đỏ trên đầu đốt.
Đèn báo hiệu quá nhiệt của phòng sơn xe tải
Đèn này sẽ sáng để báo hiệu nhiệt độ trong phòng vượt quá nhiệt độ tối đa được cài đặt.
Hệ thống điều khiển bảo vệ mất pha của phòng sơn xe tải
Khi một pha nào đó mất thì đèn chỉ báo sẽ sáng, trong lúc đó, mạch điện sẽ được ngắt và phòng sơn sẽ dừng hoạt động để người sử dụng tiến hành sửa chữa khắc phục sự cố.
Các bước vận hành phòng sơn xe tải xe buýt
Công đoạn sơn:
- Kiểm tra nguồn điện 3 pha phải từ 360~400V không bị mất pha hoặc bị đảo pha, bật Áp tô mát chính ở tủ điện.
- Cho xe cần sơn vào phòng, đóng kín các cửa, mở khí nén (từ 6~8 bar), bật khóa nguồn, bật đèn chiếu sáng, bật công tắc chọn chế độ sơn, bật các quạt cấp gió và các quạt hút gió, kiểm tra xem cửa gió mở đúng vị trí không.
Chú ý: áp suất trong phòng phải luôn dương so với bên ngoài từ +5 đến +15 mm H2O, có thể kiểm tra thủ công bằng cách mở cửa phụ ra, nếu nó luôn mở hờ chừng 15~20cm mà không sập vào hoặc bung ra là được.
- Chế độ sơn kết hợp sấy: Nếu vào mùa đông trời lạnh hoặc độ ẩm không khí cao có thể bật công tắc chọn chế độ sơn kết hợp sấy. Với một số loại phòng sơn bạn chỉ cần chọn chế độ sơn và đặt nhiệt độ sơn từ 20~25oC là được.
Công đoạn sấy:
- Đảm bảo quá trình sơn đã kết thúc, đóng kín các cửa và đảm bảo không còn người ở trong phòng sơn.
- Đảm bảo mức nhiên liệu (dầu Diesel)> 05 lít, đặt nhiệt độ sấy khoảng 60oC, đặt thời gian sấy từ 30~45 phút.
- Bật công tắc chọn chế độ sấy, bật đầu đốt(quạt hút và đèn sẽ tự động tắt), kiểm tra cửa gió ở vị trí đóng chưa.
- Nhiệt độ trong phòng sẽ tăng dần tới nhiệt độ cài đặt và sẽ tự động tắt khi thời gian cài đặt kết thúc. Khi đó đầu đốt sẽ tắt trước, quạt cấp sẽ hoạt động thêm từ 5~ 10 phút rồi tắt, đèn sẽ bật sáng sau khi quạt cấp tắt.
Tắt phòng sơn: Tắt công tắc sấy, mở cửa đưa xe ra ngoài, tắt tất cả các đèn, chuyển tất cả các công tắc về vị trí tắt (OFF), chờ khoảng 15 phút để điều hòa không khí trong phòng rồi đóng cửa chính
Lưu ý khí sử dụng phòng sơn xe tải xe buýt
- Giữ nền phòng sấy xe tải xe buýt luôn sạch, trước khi sơn hàng ngày, làm sạch phòng sơn sấy bằng nước
- Trước khi sơn cần làm sạch bên ngoài ôtô .Và di dời những hàng hoá nguy hiểm như các chất dễ cháy, xăng trong bình chứa nhiên liệu của xe ôtô.
- Trước khi sơn hàng ngày, kiểm tra dầu trong bình phù hợp, ngăn ngừa hư hỏng do thiếu dầu gây ra trong quá trình sửa chữa ô tô
- Khi làm việc cần mặc bảo hộ lao động và đi giầy trước khi vào phòng sấy, không hút thuốc trong phòng khi làm việc
- Không được để súng sơn và dầu sơn trong phòng sơn xe tải khi sấy, rất nguy hiểm dễ gây cháy nổ
- Nếu thấy xuất hiện muỗi, ruồi và côn trùng trong phòng sơn, bạn phải dùng thuốc diệt côn trùng để trừ khử chúng trước khi sơn hay sấy.
- Nếu sau thời gian dài không sử dụng, hàng sáng mở hết các cửa để thông khí và tránh hơi nước ngưng tụ trong buồng sơn.
- Thay lọc sàn phòng sơn thường xuyên nếu lượng sơn xe lớn tránh trường hợp không khí khó lưu thông
Thường xuyên bảo dưỡng phòng sơn xe tải xe buýt
- Sử dụng máy nén khí để làm sạch lọc sau 40 giờ làm việc của phòng sơn xe tải, đây là một quy định chung với hầu hết các loại phòng sơn trên thị trường.

- Làm sạch lọc bép phun của đường ống dầu vào của đầu đốt hàng tháng, tránh trường hợp lượng dầu phun không đủ thời gian sấy nóng phòng sơn xe tải lâu.
- Thay lọc trần của phòng sấy xe tải xe buýt sau 500 giờ làm việc (tùy theo tình trạng thực tế).

- Thay lọc sơ cấp phòng sơn xe tải sau 01 tháng làm việc.
- Thay lọc sàn phòng sơn xe tải xe buýt sau 50 giờ làm việc.

- Tra dầu cho trục quạt cấp/ quạt hút phòng sơn xe tải xe buýt sau 1000 giờ làm việc.

Sự cố của phòng sơn xe tải xe buýt và cách khắc phục
|
Hư hỏng |
Nguyên nhân |
Khắc phục |
|
Sau 15 giây khi đầu đốt hoạt động đèn báo lỗi sáng. |
1. Bình hết nhiên liệu. 2. Đoạn nối đường ống dầu bị rò khí. 3. Lọc trong đường ống dầu bẩn. 4. Mắt cảm biến bị bẩn. |
1. Đổ nhiên liệu vào trong bình. 2. Khắc phục đường ống bị dò. 3. Làm sạch lọc. 4. Mở vỏ dầu đốt và làm sạch mắt cảm biến. |
|
Đầu đốt xả khói đen sau khi bắt đầu đánh lửa. |
Cửa khí mở nhỏ. |
Điều chỉnh cửa khí cho tới khi không còn khói đen. |
|
Mô tơ đầu đốt không chạy. |
1. Đặt thời gian chỉ thị ở trên. 2. Đặt nhiệt độ Chỉ thị ở trên. 3. Bơm dầu bị kẹt. |
1. Đặt lại thời gian. 2. Đặt lại nhiệt độ. 3. Kiểm tra dầu bơm nhìn bao quát hoặc dầu bị khoá trên bơm dầu. |
|
Lưu lượng khí yếu khi sơn. |
1. Do lọc trần. 2. Van khí mở. |
1. Làm sạch lọc trần. 2. Kiểm tra van khí nhìn nếu nó hoạt động. |
|
Nhiệt độ tăng chậm khi sấy sơn. |
Van khí đóng. |
Kiểm tra van khí nhìn xem nó hoạt động hay không. |
|
Quạt chính không hoạt động. |
1. Cầu chì đứt. 2. Rơ le nhiệt ngắt 2. Mô tơ bị chạm chập |
1. Thay cầu chì. 2. Nhấn nút Reset 2. Thay mô tơ |
Trên đây là hướng dẫn cơ bản của chúng tôi về cách sử dụng phòng sơn xe tải và xe buýt hi vọng các bạn có được những thông tin thực sự bổ ích để phục vụ cho công việc của mình.
Các bạn có thể tìm hiểu về nhiều loại phòng sơn xe tải xe buýt tại:
>>> Những chủng loại phòng sơn xe tải phổ biến trên thị trường
>>> Tổng hợp những thiết bị sửa chữa ô tô trong các hãng dịch vụ
Liên hệ Hostline :0902 279 858 để nhận được tư vấn chuyên sâu về thiết bị và quy trình mở xưởng sửa chữa ô tô
------------------------------------------------------------------------------------------------------------------
Ghi rõ nguồn gốc khi chia sẻ hoặc sao chép lại bài viết
" Công ty cổ phần thiết bị Tân Phát "

Hỗ trợ
Hướng dẫn







Bình luận
Để lại bình luận