
Thiết bị kéo nắn xe tai nạn BLACK HAWK - Korek
Thiết bị sửa chữa vỏ xe tai nạn Korek được phát triển bởi Black hawk là thiết bị kéo nắn vỏ xe dạng bệ chìm dưới sàn xưởng, hoặc dùng các bu lông neo xuống sàn, bao gồm cả các gối đỡ cầu, các xylanh thủy lực chấp hành và bơm dầu chạy bằng khí nén.
Thiết bị có thể dùng với bệ UMD 50 của Black Hawk và bệ, hệ thống đo điện tử Shark, hệ thống đo cơ khí đa năng P188, hệ thống hàn đa năng và các thước đo của Black hawk.
Chú ý:
Đọc, nghiên cứu và tìm hiểu tất cả các nội dung được ghi trong tài liệu này trước khi sử dụng thiết bị.
Nếu người dùng không đọc hiểu tốt tiếng Anh, nhà cung cấp có trách nhiệm biên dịch lại hoặc truyền đạt lại cho người dùng các cảnh báo và các công tác chuẩn bị trước khi vận hành, cùng với nội dung của cuốn tài liệu này.
Người không có trách nhiệm, người chưa được đào tạo, tuyệt đối không được vận hành thiết bị.
Giữ cuốn tài liệu này cẩn thận gần nơi làm việc để tiện tham khảo khi cần.
Cuốn tài liệu này chỉ giới thiệu cách sử dụng thiết bị, không phải tài liệu hướng dẫn sửa xe.
Tất cả các thắc mắc về thiết bị, người sử dụng có thể liên hệ tại nhà cung cấp gần nhất hoặc liên hệ trực tiếp cho Black hawk.
1. Thông số kĩ thuật của thiết bị kéo nắn xe tai nạn BLACK HAWK - Korek
Khả năng kéo tải: 10 tấn.
Bơm thủy lực: Áp suất thủy lực tối đa 700 bar.
Áp suất khí nén cấp vào: 5 – 8 bar.
Chú ý:
Việc lắp đặt, sử dụng thiết bị Korek phải tuân thủ theo hướng dẫn của nhà sản xuất với các điều kiện đảm bảo về khung bệ, nền móng, chất lượng bê tông và thời gian đông cứng của bê tông.
Hệ thống kéo nắn sửa chữa vỏ xe được thiết kế cho các ứng dụng với lực lớn.
Việc lắp đặt, sử dụng sai nguyên tắc sẽ dẫn đến hư hỏng hoặc tai nạn lao động gây bị thương hoặc có thể dẫn đến chết người.
2. Nguyên tắc sử dụng thiết bị kéo nắn xe tai nạn BLACK HAWK - Korek
- Tuyệt đối không được sử dụng các mỏ neo, móc kéo, hệ thống kéo không phải do Black hawk cung cấp.
- Không được hiệu chỉnh, thay đổi kết cấu hay mục đích sử dụng của bất kỳ cơ cấu nào trên thiết bị.
- Trước khi thực hiện kéo nắn, phải chắc chắn rằng các móc neo đã được khóa chặt và an toàn.
- Không được sử dụng các xích kéo của thiết bị để làm các mục đích khác như nâng hoặc cẩu hàng…
- Không được dùng xích không phải của Black hawk.
- Trong quá trình kéo nắn, luôn sử dụng cáp bảo vệ. Tuyệt đối không dùng cáp bảo vệ vào mục đích kéo nắn. Không được làm căng cáp bảo vệ khi vận hành.
- Chắc chắn rằng việc kết nối các mỏ neo và các chốt đúng kỹ thuật…
- Không được để dư quá nhiều cáp khi lắp đặt. Tính toán để khi phần kim loại kéo nắn chẳng may bị đứt cũng không làm văng xích ra gây tai nạn.
- Chốt neo luôn phải đóng ở góc làm việc. Không được chêm bằng tay mà phải dùng búa.
- Một số khung Korek được cung cấp với thanh ray Power Lock (rãnh 30 mm), không được sử dụng chân chốt của các thanh ray này để làm việc khác.
- Khi sử dụng các phụ kiện, không được làm việc quá khả năng thiết kế của thiết bị.
- Chắp đôi xích tại tất cả các vị trí cần lực kéo lớn hơn 10 tấn.
- Không được sử dụng thiết bị thủy lực ở nơi dễ cháy.
Khi thực hiện quá trình kéo nắn, các chú ý gián tiếp đến thiết bị cũng cần được chú trọng:
- Sử dụng đầy đủ dụng cụ bảo hộ lao động (găng tay, kính mắt, giày bảo hộ, ,,,)
- Phòng chống cháy nổ theo đúng quy tắc an toàn và luật địa phương.
Giữ khu vực làm việc được sạch sẽ và khô ráo.
Đi đứng cẩn thận không được để mất thăng bằng khi đi bộ quanh khu làm việc của Korek.
Chắc chắn rằng các đề can cảnh báo của thiết bị ở trong trạng thái tốt.
Các đề can khác có thể dán thêm để cảnh báo an toàn.
3. Cách sử dụng các chốt chêm trên thiết bị kéo nắn xe tai nạn BLACK HAWK - Korek
Các gối đỡ được định vị trên khung chìm bằng các chốt chêm, để tạo điểm tựa cho các cơ cấu kéo.
Sử dụng gối đỡ trong quá trình kéo:
- Lắp chân gối đỡ xuống khung bệ cho mặt cầu lõm quay ra phía ngoài. (hình 1)
- Lắp 2 chốt chêm vào gối đỡ cho nó ăn xuống đường ray và đóng chặt bằng búa.(hình 2)
- Lắp thêm 2 thanh chống từ phía ngoài vào. Sắp thẳng hàng theo hướng kéo (hình 3 và 4)
|
|
|
|
|
|
- Đặt chỏm cầu của thanh nối vào ổ đặt trên gối đỡ, sao cho thanh chống tạo 1 góc khoảng 60 độ với mặt đất như hình vẽ. Nếu cần thiết, cho thêm thanh nối để có được độ dài cần thiết cho việc nâng xích kéo. Khóa chặt khóa xích ở đầu thanh chống. (hình 3 và 4).
- Khóa chặt đầu xích xuống rãnh ray phía ngoài. Xiết chặt bằng cách đạp nhẹ vào van hơi để cho áp suất thủy lực tăng vừa đủ để căng xích. (Hình 4).
Nối cáp bảo hiểm vào như hình 4A để đề phòng xích văng khi tuột.

Chú ý: Trước khi kéo phải chắc chắn rằng xe ô tô đã được cố định trên bệ giữ.
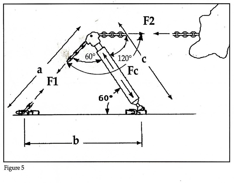
4. Tỷ lệ giữa các góc, chiều dài thanh nối dài và vị trí các thanh chống của thiết bị kéo nắn xe tai nạn BLACK HAWK - Korek

a = b = c.
F1 = F2 = Fc
Góc ngoài tối đa là 120 độ.
Kết quả: Lực kéo F2 là tổng của lực F1 và lực gia tăng của góc Fc.

F2 = Fc x b/c
Trong trường hợp này b < c, do đó F2 < Fc.
F ≈ Fc nên a ≈ c.
Lực kéo F2 nhỏ hơn lực của thanh thống Fc nếu b ngắn hơn c.
Kết quả:
Trong trường hợp này ta có lực F1 lớn hơn F2.

Không được kết nối như trên, vì những lý do sau:
F1 > F2 Fc.
Lực kéo của F2 nhỏ hơn F1.
Góc kéo lớn hơn 120 độ.
Nguy hiểm: Rất có thể xích sẽ bị đứt do lực F1.

Nguy hiểm:
Không được kết nối theo kiểu này, sẽ làm đứt xích ngay lập tức.
Góc tiếp cận không đủ 120 độ:
- Các thanh nối dài sẽ bị cong.
- Piston chấp hành thủy lực sẽ bị cong hoặc hỏng phớt.
- Xích sẽ bị nới lỏng và tuột tại điểm A.
- Khớp cầu tại gối đỡ của xylanh thủy lực sẽ bị uốn và tuột ra tại điểm B.
Không được để điểm chống xích làm cho chốt xích có xu hướng tuột ra khỏi dầm.
Một số ví dụ về cách sắp đặt vị trí kéo:

5. Kéo đồng thời nhiều móc khi sử dụng thiết bị kéo nắn xe tai nạn BLACK HAWK - Korek



6. Sử dụng thanh chống để phân phối lực đẩy cho thiết bị kéo nắn xe tai nạn BLACK HAWK - Korek

- Kết nối chân thanh chống với hai chốt chêm từ phía ngoài, khóa chặt bằng búa (hình 1 và 2).
- Lắp 2 thanh gối với 4 góc vào rãnh trong của ray dầm rồi khóa cứng lại bằng búa.
- Lắp thanh chống và các thanh nối dài như hình vẽ. Lắp thêm đầu khóa xích K830901 và khóa xích vào đầu móc của 2 thanh chống (nhìn hình 9).
Chú ý:
Khi thực hiện phương pháp chống đẩy tôn, cẩn thận không được để xe bị trôi.
Luôn luôn phải dùng cáp bảo hiểm để đảm bảo an toàn.
Bảo dưỡng:
- Công tác bảo dưỡng cho bơm và xylanh thủy lực, tham khảo tài liệu đi kèm bơm.
- Chỉ dùng dầu thủy lực của Black Hawk. Không dùng dầu khác loại hoặc dầu phanh.
- Kiểm tra điều kiện làm việc của các phớt, ống tuy ô thủy lực và các đầu nối. Nếu như ống thủy lực bị vỡ, rò, cần thay thế.
- Kiểm tra các đầu kẹp thường xuyên để có độ bám chắc. Nếu như đầu kẹp mòn, cần thay thế.

Hỗ trợ
Hướng dẫn











Bình luận
Để lại bình luận