Hướng dẫn sử dụng máy ra vào lốp Corghi A 2000 là công việc mà bất cứ nhà cung cấp thiết bị ra vào lốp Corghi nào cũng phải làm mỗi khí cung cấp ra thị trường thiết bị này
Máy được thiết kế để vào và ra lốp với tất cả các loại lốp có khối lượng và kích thước được mô tả như trong tiêu mục TÓM TẮT KỸ THUẬT đi kèm theo máy ra vào lốp
Máy được thiết kế chắc chắn. Nó hoạt động với bánh xe được đặt theo phương đứng cho việc ép lốp và đặt theo phương nằm ngang trong việc ra, vào lốp. Tất cả các chuyển động của máy được thực hiện thông qua bàn đạp bởi người vận hành.

Mục đích của cuốn hướng dẫn này là cung cấp cho chủ sở hữu và người vận hành thiết bị ra vào lốp Corghi italy những kỹ năng vận hành cũng và chỉ dẫn an toàn khi sử dụng cùng với đó là vấn đề bảo trì máy ra vào lốp.
Cẩn thận làm theo tất cả những hướng dẫn sau đây, máy ra vào lốp sẽ hỗ trợ bạn trong công việc và đem tới dịch vụ lâu dài và thuận tiện bởi CORGHI.
Đoạn sau đây chỉ ra mức độ nguy hiểm liên quan tới thiết bị kết hợp với những chú thích cảnh báo có trong cuốn hướng dẫn sử dụng này.
Nguy hiểm
Đề cập tới tình huống nguy hiểm tức thì với khả năng gây chấn thương nghiêm trọng hoặc tử vong do sử dụng máy ra vào lốp không đúng kỹ thuật .
Cảnh báo
Những hiểm họa hoặc cảnh báo các thao tác, quy trình không an toàn có thể gây chấn thương nghiêm trọng hoặc tử vong.
Chú ý
Những hiểm họa hoặc các thao tác, quy trình không an toàn có thể gây chấn thương nghiêm trọng hoặc làm hư hỏng tài sản.
Đọc kỹ hướng dẫn trước khi chạy máy. Lưu trữ cuốn hướng dẫn sử dụng này và những tài liệu minh họa đi kèm theo máy ra vào lốp Corghi trong một hộp gần với máy ra vào lốp. Để cho người vận hành máy thay lốp có thể dễ dàng lấy và tham chiếu.
Tất cả những tài liệu kỹ thuật được cung cấp là một phần không thể thiếu đối với máy, trong trường hợp bán thiết bị này cho người khác, tài liệu kỹ thuật vẫn phải được đi kèm.
Hướng dẫn sử dụng chỉ có giá trị cho model và số sêri ghi trên nhãn mác áp dụng cho bản thân từng loại máy ra vào lốp.
Chú ý : Tuân thủ tất cả các nội dung của cuốn tài liệu hướng dẫn sử dụng này: Corghi không chịu trách nhiệm trong các trường hợp không được mô tả cụ thể hay không được ủy quyền trong cuốn hướng dẫn sử dụng này.
Một số các hình minh họa trong cuốn sách này được lấy từ hình ảnh nguyên mẫu, các model tiêu chuẩn có thể khác nhau đôi chút ở một số khía cạnh.
Những hướng dẫn này là dành cho những người có kỹ năng cơ khí cơ bản. Do đó, chúng tôi đã cô đặc các mô tả của mỗi hoạt động bằng cách bỏ qua hướng dẫn chi tiết, ví dụ, làm thế nào để nới lỏng hay thắt chặt các thiết bị cố định trên máy. Đừng cố gắng thực hiện các hoạt động trừ khi đủ điều kiện và có kinh nghiệm phù hợp. Trong trường hợp cần thiết, xin vui lòng liên hệ với Trung tâm dịch vụ gần nhất được ủy quyền của chúng tôi để được hỗ trợ.
Vận chuyển bảo quản máy ra vào lốp Corghi A2000
Máy ra vào lốp phải được vận chuyển trong bao bì ban đầu của nó và được duy trì vị trí như chỉ dẫn bên ngoài bao bì.
Kích thước bao bì của máy:
- Rộng 80 cm.
- Dài 114 cm.
- Cao 97 cm.
Khối lượng vận chuyển 189 kg (T.I. 199 kg).
Nhiệt độ mỗi trường thích hợp cho vận chuyển máy thay lốp từ : 25 oC đến 55oC
Tháo dỡ bao bì và lắp đặt máy Corghi A2000
Chý ý : Thận trọng tối đa khi tháo dỡ bao bì, lắp ráp, lắp đặt máy như mô tả trong mục này
Việc không tuân thủ hay làm sai những hướng dẫn này có thể dẫn tới việc máy bị hư hại và gây chấn thương cho người sử dụng hoặc những người khác.
Dỡ phần nắp trên của bao bì và chắc chắn rằng máy ra vào lốp không bị thiệt hại, xác định những vị trí mà máy được gong vào pallet (hình 1).

Máy thay lốp Corghi A2000 bao gồm 3 phần chính (hình 1):
A Hộp thân máy.
B Trụ đỡ.
C Bình tích khí ( chỉ có ở phiên bản T.I).
Một khi bạn tháo dỡ trụ B xuống thì tốt nhất nên đặt nó nằm ngang để tránh trường hợp bị rơi và hư hỏng.

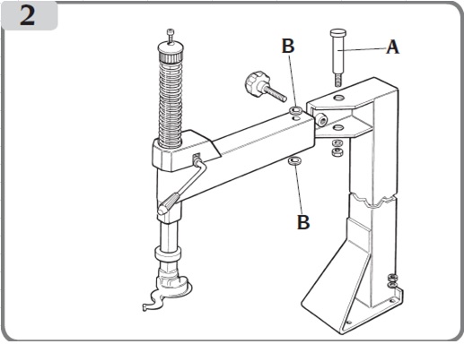
Đặt tay đỡ ngang vào trên lỗ A (hình 2), lắp 2 long đen B (hình 2) ở phía trên và phía duới.
Lắp chốt A và vặn e cu cho tới khi cảm thấy có một lực cản tương đối khi quay cánh tay quanh chốt.

Đặt trụ đứng vào vị trí bắt ốc.
Chốt trụ đứng với tủ phía dưới bằng chốt có kèm long đen A (hình 3).
Di chuyển thiết bị ra vào lốp A2000
Để tháo máy ra khỏi pallet, treo máy lên như chỉ dẫn ở hình 4.

Vị trí dùng khi nâng bắt buộc phải được sử dụng bất cứ khi nào bạn muốn thay đổi vị trí của máy.
Không được di dời máy ra vào lốp khi mà chưa ngắt nguồn điện và nguồn khí nén khỏi máy.
Không gian lắp đặt thiết bị ra vào lốp Corghi A2000
Cảnh báo
Chọn nơi lắp đặt tuân thủ theo những quy chuẩn yêu cầu về an toàn nơi làm việc
Ghi chú quan trọng: một cách chính xác, để an toàn cho thiết bị và người sử dụng phải đảm bảo về độ sáng tối thiểu nơi sử dụng máy là 300 lux.
Chú ý
Nếu máy được lắp ngoài trời, nó phải được bảo vệ tốt dưới thời tiết bằng một mái che.
Đặt máy ra vào lốp ở vị trí làm việc được thiết kế phải theo các yêu cầu về khe hở tối thiểu như thể hiện ở hình 5.

Điều kiện môi phù hợp cho thiết bị thay lốp hoạt động tốt
Độ ẩm tương đối từ 30% tới 95% không bị ngưng tụ.
Dải nhiệt độ cho phép từ 0oC tới 50oC.
Những quy đinh khi lắp nguồn điện và khí nén cho máy ra vào lốp Corghi A2000
Cảnh báo
Tất cả các hoạt động trong đấu điện cho máy ra vào lốp phải được thực hiện bởi một người thợ điện có đủ trình độ.
Việc cấp điện cho máy phải phù hợp theo các chỉ tiêu liên quan sau:
- Thông số kỹ thuật của dòng điện sử dụng ghi trên mảng dữ liệu thông số của máy.
- Khoảng cách giữa máy với điểm nối điện cung cấp, để điện áp rơi không vượt quá 4% (10% trong khi khởi động) dưới mức điện áp ghi trên mảng dữ liệu thông số của máy.
Người sử dụng phải trang bị cho máy những thành phần sau:
- Một phích cắm điện phù hợp với các tiêu chuẩn an toàn về điện.
- Một atomat phù hợp (với lượng dư sử dụng đến 30 mA) trong mạch nối chính.
- Một cầu chì có các thông số phù hợp với thông số trong mạch nối dây chính có trong cuốn sách này.
- Một hệ thống nối đất thích hợp được đặt trong môi trường làm việc chính của xưởng.
Để tránh những trường hợp tự ý sử dụng máy ra vào lốp, luôn luôn ngắt phích cắm nguồn khi máy không được sử dụng trong thời gian dài.
Nếu máy được nối trực tiếp với nguồn thông qua bảng điện chính mà không dùng phích cắm, nên lắp một thiết bị đóng ngắt máy kèm theo để hạn chế sử dụng máy đối với nhân viên không có trình độ.
Không bao giờ được nối đất với các đường ống khí, đường dây điện thoại hoặc những hệ thống tạm thời khác.
Vận hành máy một cách chính sác thì hệ thống khí nén cung cấp phải được duy trì ở mức 8 bar đến 16 bar.
Chú thích: máy phải được cung cấp khí nén đặt ở 10 bar (máy hoạt động theo tiêu chuẩn). Nếu bạn làm việc với một vành xe dễ bị biến dạng (ví dụ như bánh xe máy) chúng tôi yêu cầu hạ thấp áp suất khí đầu vào xuống 7 hoặc 8 bar.
Những quy định chung về an toàn cho người sử dụng và thiết bị ra vào lốp
Cảnh báo
Tất cả những hoạt động trái với hướng dẫn có thể gây ra những chấn thương nghiêm trọng cho người sử dụng và những người khác. Không được phép bật nguồn cho máy khi chưa đọc và hiểu hết những nguy hiểm/ cảnh báo/ chú ý được chú thích trong cuốn sách hướng dẫn này.
Máy thay lốp A2000 này chỉ được sử dụng bởi người có trình độ và được ủy quyền. Một người vận hành có trình độ được hiểu là người đã đọc và hiểu những hướng dẫn của nhà sản xuất, được đào tạo phù hợp, và được chuyển giao những quy định về an toàn và hiệu chỉnh trước khi vận hành.Người vận hành cấm không được sử dụng máy dưới tác động của rượu bia hoặc ma túy hay những chất gây ảnh hưởng tới thể chất và tinh thần.
Các điều kiện sau đây là rất quan trọng:
Người sử dụng phải đọc và hiểu hết tất cả các thông tin trong cuốn sách hướng dẫn này.
Chắc chắn rằng bạn có thể hiểu biết thấu đáo về khả năng và đặc điểm cơ bản của máy ra vào lốp Corghi A2000.
Đảm bảo an toàn cho người không được được ủy quyền khi gần khu vực vận hành máy.
Chắc chắn rằng máy đã được lắp đặt theo đúng tiêu chuẩn.
Đảm bảo chắc chắn rằng tất cả những người vận hành máy đã được đào tạo, họ có khả năng vận hành máy chính xác và họ được giám sát đầy đủ trong suốt công việc của họ.
Không bao giờ để ốc, ê cu, dụng cụ hoặc các thiết bị khác lên trên thiết bị ra vào lốp chuyên nghiệp này vì nó có thể gây kẹt các bộ phận chuyển động trong quá trình làm việc.
Không được chạm vào đường dây điện, vỏ mô tơ hoặc các thiết bị điện khác khi chưa ngắt nguồn điện và khóa lại.
Đọc kỹ cuốn hướng dẫn sử dụng này và học cách sử dụng máy một cách chính xác và an toàn.
Luôn luôn giữ cuốn hướng dẫn sử dụng này ở nơi có thể dễ dàng sử dụng khi vận hành máy và có thể đọc nó bất cứ lúc nào cần tham chiếu hoặc giải thích.
Không được phép bóc hoặc dán đè lên các đề can về an toàn, nguy hiểm, cảnh báo hoặc hướng dẫn. Thay thế những đề can bị mất hoặc không đọc rõ được. Những đề can bị mất hoặc không nhìn rõ có thể được cung cấp tại các đại lý gần nhất của Corghi .
Khi sử dụng hoặc bảo trì máy ra vào lốp cần tuân thủ các quy định về phòng ngừa tai nạn trong công nghiệp đối với thiết bị công nghiệp sử dụng điện áp cao.
Bất kỳ những thay đổi trái phép nào không được gửi tới nhà sản xuất sẽ bị từ chối trách nhiệm trong các trường hợp thiết bị bị hư hỏng hoặc có tai nạn xảy ra. Đặc biệt là trường hợp tự ý làm xáo trộn hoặc gỡ bỏ các thiết bị an toàn của máy là một vi phạm trong quy định về phòng ngừa tai nạn trong công nghiệp.
Trong khi vận hành hoặc sửa chữa thiết bị Corghi thì không được phép thắt cà vạt, quần áo rộng lung thùng, đeo dây chuyền hoặc đồng hồ đeo tay hay bất cứ những đồ vật nào có thể dẫn tới kẹt bộ phận chuyển động khi máy đang làm việc. Buộc lại mái tóc dài và chụp lại bằng khăn hoặc mũ.
Thông số kỹ thuật của máy ra vào lốp Corghi A2000
Khả năng của bàn kẹp:
A 2000 18’’...................................................................... kẹp trong 13’’ đến 21’’
A 2000 18’’ .................................................................... kẹp ngoài 10’’ đến 18’’
A 2000 20’’ .................................................................... kẹp trong 13’’ đến 23’’
A 2000 20’’ .................................................................... kẹp ngoài 10’’ đến 20’’
Lực ép lốp................................................................................. 15.500 N (tại 10 bar)
Độ mở bàn ép ......................................................................... 3.325 mm
Đường kính lốp lớn nhất......................................................... 960 mm
Chiều dày lốp lớn nhất .......................................................... 12’’
Áp suất khí nén ...................................................................... 8 đến 10 bar
Momen quay mâm xoay ....................................................... 1.000 Nm
Các kích thước ( hình 5a):
Chiều cao lớn nhất........................................................... 1.870 mm
Chiều rộng lớn nhất......................................................... 1.220 mm
Độ dày lớn nhất .............................................................. 1.220 mm
Khối lượng:
Phiên bản 18’’....................................................................... 180 kg (T.I 190 kg).
Phiên bản 20’’ ..................................................................... 192 kg (T.I 202 kg).
Nguồn cung cấp:
3 pha....................................................................................... 230/ 400 ±10%V 50/ 60 Hz
1 pha ..................................................................................... 115/ 230 ±10%V 50/ 60 Hz
1 pha - 115/ 230 ±10%V 50/ 60 Hz
Mô tơ:
1 pha....................................................................................... 0.75 kw
3 pha ..................................................................................... 0.75 kw
Độ ồn khi chạy......................................................................... ≤ 70 dB (A)
PHỤ KIỆN ĐI KÈM
Súng bôi sáp (hoặc chổi)..................................................................... 900432739
Chổi (hoặc súng bôi sáp)..................................................................... 900415248
Súng bơm lốp (not T.I.)........................................................................ 900434804
Đòn bẩy lốp................................................................................................... 900444238
PHỤ KIỆN TÙY CHỌN
Bộ chuyển đổi cho bánh xe máy............................................................. 801258650
Bộ chuyển đổi 8~24’’ cho mâm kẹp 10~20’’.................................. 801263517
PU 1500 mô đun cơ bản...................................................................... 8-11100027
PU 1500 thẳng đứng............................................................................. 8-11100030
Bộ nâng bánh xe................................................................................... 8-11100031
Điều kiện chi tiết khi sử dụng máy ra vào lốp A2000
Máy ra vào lốp A 2000 được thiết kế phục vụ cho công việc ra vào lốp, sử dụng những dụng cụ mà máy được trang bị và theo sự chỉ dẫn của cuốn sách này.
Máy được trang bị một hệ thống bơm lốp độc lập với các hệ thống nêu trên. Hết sức thận trọng trong khi sử dụng hệ thống bơm lốp (đọc tiêu mục BƠM LỐP).
Chú ý:Trong khi làm việc với máy, có một khuyến cáo là tránh sử dụng những thiết bị, dụng cụ không phải do CORGHI cung cấp.
Những bộ phận chính hoạt động của máy ra vào lốp Corghi A 2000
Tìm hiểu về máy ra vào lốp của bạn: cách tốt nhất để tránh tai nạn và có được hiệu suất cao nhất khi sử dụng máy là việc tất cả những người vận hành máy đều biết cách thức hoạt động của máy.
Tìm hiểu tất cả các chức năng và vị trí tác động làm việc.
Kiểm tra kỹ lưỡng tất cả các lệnh làm việc của máy có hoạt động tốt không.
Tránh những tai nạn và chấn thương, máy phải được lắp đặt đúng, hoạt động tốt và dễ dàng sửa chữa.

Hình ảnh minh họa nhưng chi tiết chính máy ra vào lốp Corghi A2000
- A Trụ trượt dọc ~ bộ phận dùng trong định vị để ra, vào lốp.
- B Tay đỡ ngang ~ di chuyển các bộ phận gắn với tay trượt đứng ra xa hoặc lại gần vành, dùng trong việc ra, vào lốp.
- C Bộ phận ra, vào (đầu mỏ vịt) ~ dùng trong việc ra, vào lốp đối với vành.
- E Mâm xoay ~ bộ phận quay, kẹp vành xe.
- F Bàn đạp điều khiển mâm xoay ~ bàn đạp 3 vị trí dùng để điều khiển mâm quay theo cả 2 chiều.
- G Bàn đạp điều khiển kẹp ~ bàn đạp 3 vị trí dùng để mở, đóng và dịch chuyển kẹp vào vành.
- H Bàn đạp ép lốp ~ bàn đạp 2 vị trí dùng trong hoạt động ép lốp.
- L Móng ép lốp ~ móng ép di động để tách lốp ra khỏi vành.
- M khóa tay trượt đứng ~ dùng để khóa cứng tay trượt đứng sau khi đã tìm được điểm chính xác cho bộ phận C và D.
- N Ốc chặn ~ định mức đối với tay đòn quay ngang, duy trì khoảng cách của bộ phận C và D đối với vành.
- O Bình tích khí ~ chỉ có trong phiên bản T.I.
- P Súng bơm lốp.
- Q Bàn đạp bơm lốp ~ chỉ có trong phiên bản T.I.
- R Ốp bảo vệ.
Chú ý : Đối với tất cả các đặc tính kỹ thuật, ghi chú, chú ý, bảo trì và các vấn đề khác liên quan đến bình tích khí, tham khảo tài liệu sử dụng và bảo trì bình tích khí với những tài liệu mà máy cung cấp.

Những nguy hiểm khi sử dụng máy ra vào lốp
Quy trình sử dụng thiết bị Corghi A2000 tháo lốp ra khỏi La zăng
Chú ý : Khi sử dụng máy ra vào lốp Corghi A2000 phải do người đã lắm vững kỹ thuật chuyên môn, điều đó nhằm đảm bảo àn toàn cho người sử dụng và thiết bị
Bước 1 : Ép Lốp
Quyết đinh măt nào của lốp cho ra truowcsx
Xả hết khí ra khỏi bánh, tháo van ra.
Mang bánh xe vào vị trí ép lốp, Đưa móng ép úp vào mép lốp rồi nhấn bàn đạp H (hình 13).

Làm lại thao tác trên với các điểm tì khác trên lốp cho tới khi mép lốp được tách khỏi vành. Thao tác tương tự với mặt bên kia của lốp (hình 14).

Tháo các chì ra khỏi vành.
Sử dụng bàn đạp G để đóng 4 kẹp di động, tùy thuộc vào vành ta có thể kẹp trong hoặc kẹp ngoài (hình 15).
Hệ thống các ốp kẹp được thiết kế cho vành hợp kim hoặc vành đặc biệt để tránh trầy xước vành (hình 16).

Triệt để bôi trơn vào vòng quanh mép lốp ở cả mép trên và dưới để tránh làm hỏng mép lốp và việc ra lốp được hiệu quả (hình 17).

Bê bánh xe lên bộ gá, ấn nhẹ vành xe đồng thời nhấn bàn đạp G để kẹp vành (hình 15).
Bước 2:Tiến hành ra lốp khỏi vành
Định vị tay đỡ ngang và trụ trượt dọc và khóa cứng M (hình 18) để phần mỏ vịt bên dưới C chạm vào mép vành (hình 19).


Khóa cứng trụ trượt dọc bằng khóa M. Nếu nhả chốt M ra thì trụ trượt dọc sẽ tự động rời khỏi mép vành (hình 20).

Để điều chỉnh vị trí của trụ trượt dọc, sử dụng núm chặn N (hình 21).
Chèn và gá đòn bẩy lốp vào giữa mép lốp và mỏ vịt (hình 22a).
Khi làm việc với vành hợp kim hoặc vành có lớp sơn tinh tế, đắt tiền, bạn nên rút đòn bẩy mép lốp ra trước khi thực hiện việc ra lốp.


Chú ý: Cầm chắc dòn bẩy lốp trong quá trình sử dụng.
Nâng phần mép lốp gần mỏ vịt bằng dụng cụ nâng mép lốp để lực nâng đó ép từng phần mép lốp ra khỏi vành theo chiều dọc, ấn đòn bẩy lốp về phía đối diện với vị trí mép đã chọn (hình 22b).
Bắt đầu ra lốp bằng cách nhấn nhẹ và nhấp nhả bàn đạp điều khiển mâm xoay F (hình 23).

Quay bánh xe cho tới khi qua một vòng thì mép lốp trên sẽ thoát khỏi mép vành (hình 24).

Di chuyển cánh tay đỡ ngang tới vị trí D để lấy săm ra khỏi lốp xe (hình 25).
Để thao tác với mép lốp còn lại, thực hiện các thao tác tương tự như trên. (hình 26).

Bước 3: Vào lốp
Luôn luôn kiểm tra kích thước của bánh xe với kích thước của lốp có tương thích không trước khi thực hiện việc vào lốp.
Trước khi thực hiện công việc vào lốp, bôi trơn hết các mép lốp (hình 27).

Việc bôi trơn giúp cho công việc dễ dàng xử lý hơn và tránh gây hư hỏng có thể xảy ra
Chắc chắn rằng lốp còn sử dụng tốt và không có dấu hiệu bị hư hỏng.
Đặt lốp lên trên vành và di chuyển cánh tay đỡ ngang tới vị trí làm việc.
Gá mép dưới của lốp vào mỏ vịt. Nhấn bàn đạp điều khiển cho mâm xoay quay theo chiều kim đồng hồ để vào mép dưới lốp. Hãy sử dụng các rãnh vành bằng cách ấn vào mép lốp phía bên phải của mỏ vịt để giảm độ căng với lốp trong quá trình quay mâm.
Sau khi vào được mép bên dưới, làm lại các thao tác như đã nêu đối với mép còn lại.
Quay cánh tay đỡ ngang tới vị trí D, nhấc bánh xe và bơm lốp.
Bước 4: Bơm lốp
Nhấc bánh xe ra khỏi bàn kẹp.
Cắm đầu bơm lốp vào van.
Bơm lốp sẽ có những tiếng nổ nhỏ của không khí (hình 29).

Không bao giờ được bơm vượt quá áp suất quy định của nhà sản xuất lốp xe.
Hướng dẫn bơm lốp xe đúng cách
Bơm lốp xe không xăm
Trước khi thực hiện các hoạt động được mô tả dưới đây, hãy chắc chắn rằng không có bụi bẩn, bụi hoặc vật thể lạ nào khác bị vướng vào ống khí ra.
Hãy chắc chắn rằng bánh xe được kẹp chặt trên mâm xoay của thiết bị ra vào lốp với kẹp từ trong ra.
Cắm đầu nối từ ống khí ra vào van.
Dùng tay giữ lốp xe và nâng nó cho tới khi có một khoảng hở giữa mép dưới lốpvới mép dưới của vành để ép mép trên vào.
Nhấn bàn đạp bơm lốp xuống hết cỡ trong một thời gian ngắn để ép mép lốp . Lốp sẽ phình ra và mép lốp được ép sát vào mép vành.
Tiếp tục nhấn bàn đạp bơn lốp cho tới khi mép lốp được ép vào vành hoàn toàn
Ghi chú: Để nâng cao hiệu quả của hệ thông bơm lốp không săm, khí nén đầu vào nên dặt ở mức 8 đến 10 bar.
Tag: cầu nâng ô tô, phòng sơn ô tô, máy cân bằng lốp ô tô, máy ra vào lốp ô tô, thiết bị kiểm tra góc đặt bánh xe

Hỗ trợ
Hướng dẫn







Bình luận
Để lại bình luận